This blog post has been originally posted in www.mysmartprice.com
Xiaomi entered the foldable smartphone segment with the launch of its Mix Fold. The company launched its first foldable smartphone in China earlier this year. It came with top-of-the-line specs for the time. This included a 108MP triple-camera setup, a Snapdragon 888 SoC, and an 8.01-inch foldable display with a QHD+ resolution. The company might launch a successor of the Mix Fold in the coming days. Dubbed Mix Fold 2, the device is likely to launch in March 2022. Meanwhile, a Xiaomi foldable smartphone has visited the USPTO (United States Patent and Trademark Office). Let’s take a look at the Xiaomi Fold smartphone images, design and other details revealed via the patent.
Xiaomi Fold Smartphone Patent
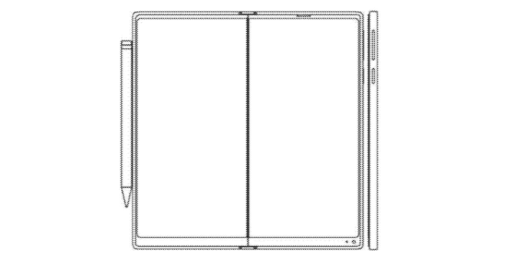
Xiaomi could be working on a new foldable smartphone, which could launch as a successor of the Mix Fold. This particular device is listed on USPTO. The patent filing includes images of the foldable smartphone. The folding mechanism is similar to the Samsung Galaxy Z Fold series. There is a hinge in between the foldable display. While the sketches do not reveal the specs, it includes images of a smart stylus. The stylus is attached magnetically to the side of the foldable smartphone. The images reveal that the volume and power buttons are on the right side of the frame, leaving room for the stylus to attach magnetically on the left edge.
#tdi_1_1e1 .td-doubleSlider-2 .td-item1 {
background: url(https://techx.pk/wp-content/uploads/2021/12/Screenshot-2021-12-28-at-4.53.45-PM.png) 0 0 no-repeat;
}
#tdi_1_1e1 .td-doubleSlider-2 .td-item2 {
background: url(https://techx.pk/wp-content/uploads/2021/12/Screenshot-2021-12-28-at-4.53.49-PM.png) 0 0 no-repeat;
}
#tdi_1_1e1 .td-doubleSlider-2 .td-item3 {
background: url(https://techx.pk/wp-content/uploads/2021/12/Screenshot-2021-12-28-at-4.53.54-PM.png) 0 0 no-repeat;
}
#tdi_1_1e1 .td-doubleSlider-2 .td-item4 {
background: url(https://techx.pk/wp-content/uploads/2021/12/Screenshot-2021-12-28-at-4.54.00-PM.png) 0 0 no-repeat;
}
#tdi_1_1e1 .td-doubleSlider-2 .td-item5 {
background: url(https://techx.pk/wp-content/uploads/2021/12/Screenshot-2021-12-28-at-4.54.10-PM.png) 0 0 no-repeat;
}
#tdi_1_1e1 .td-doubleSlider-2 .td-item6 {
background: url(https://techx.pk/wp-content/uploads/2021/12/Screenshot-2021-12-28-at-4.54.07-PM.png) 0 0 no-repeat;
}
#tdi_1_1e1 .td-doubleSlider-2 .td-item7 {
background: url(https://techx.pk/wp-content/uploads/2021/12/Screenshot-2021-12-28-at-4.54.17-PM.png) 0 0 no-repeat;
}
Unfortunately, the specs or the moniker of the device were not revealed in the patent. We suspect that this device could be the upcoming Mix Fold 2. However, Xiaomi has not confirmed any details regarding the Mix Fold smartphone successor. Therefore, it is best to wait for more details to surface online.
The company is also working on another foldable device with a clamshell design similar to the Z Flip series. It has a tiny cover screen on the outside and a dual-camera setup. To know more about the Xiaomi flip phone, click here.
The post Xiaomi Fold Smartphone with a Stylus Pen Revealed in Patent Filing appeared first on MySmartPrice.
source
This blog post has been originally posted in www.mysmartprice.com
